一:概況
寧夏寶豐能源集團公司丁家梁煤礦井深929m,井筒徑直徑為Φ6.8米鑿井期間,經計算采用2臺GA250型和一臺SA120A型空壓機供風。可滿足不同施工工序的用風需要。地面壓風管選用Φ219×6無縫鋼管,井下選用Φ159×6mm的無縫鋼管,為保證安全施工特編此措施。
二、編制依據:
1、設備自帶壓縮機說明書。
2、《煤礦安全規程》。
3、《機械設備安裝工程施工及驗收通用規程》。
4、《煤礦安裝工程質量檢驗評定標準》。
三、安裝主要工程量
1)、壓縮機3臺?? 單臺最重大約重5430kg
2)、安裝電源起動柜3臺
3)、加裝散熱通道
4)、鋪設電源線及電源起動柜接頭
四、施工技術方案
(一)、施工步驟
1、施工前的準備工作:及時組織施工人員熟悉施工現場,做好前期準備工作(如、鋼絲繩、馬鐙、橇杠、電鉗工必用的工具等)。
2、熟悉圖紙弄清設計要求及內容,認真聽取技術人員的技術交底和施工方法。弄清技術要求及技術標準、質量標準。
3、空壓機放置的位置及基礎,詳細檢查清理運輸線路雜物及安裝位置,對基礎中心線、標高等進行測量,做好記錄,合格后方可施工。
4、設備開箱檢驗,對設備外觀、數量、以及內部結構進行全面檢查。
5、組織人員清理壓風機房周圍的場地,定好停車位置。
6、設備的搬運、安裝、電纜鋪設,一、二次設備的接線。
7、設備的調試及空、重負荷試運轉。
(二)施工方法
1、施工前應逐項進行安全技術教育及技術交底,落實所有安全技術措施和人身防護用品,未經落實不得進行施工。
2、型螺桿式空壓機的安裝。
1)、安裝過程:
①首先用水平儀對選好的地基進行找平,加減振墊5~10mm,以避免壓縮機產生震動而引起噪音。
②、組裝好的空壓機整臺套,由汽車直接拉運到壓風機房周邊處(提前清理好的地方),采用吊車(25T)使用正確的起吊方法,直接將壓風機吊至已澆筑好的基礎上。放到安裝位置,依照中心線擺放平直。
2)、安裝要求:
①、配電起動柜可放置在空壓機安裝位置的對面,易操作處,鋪設電纜。
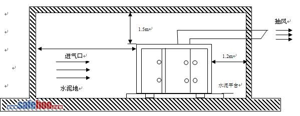
②、空壓機的安裝技術要求如圖所示:
?

3)、安裝注意事項
①、在安裝管道之前,所有堵口的法蘭、塞子、堵頭、裝干燥劑的袋子均須取走。配氣管和管道接頭大小必須合適,能適應相關工作壓力。
②、機器安裝時,必須留有充分的人員操作空間 ,并能保證所需的冷卻條件。進氣口絕不能堵寒,一定要最大程度地減少經氣口進入的濕氣。
③、壓縮機到后冷器或供氣回路的壓力管道受熱時可膨脹,而且不會與可燃性物質接觸,壓力管道與排氣口相接在安裝時必須消除應力。
④、安全裝備、護蓋或絕緣材料都不可拆卸掉或加以改動。
⑤、對安裝在壓縮機的壓力端頭法蘭上的壓力裝置和壓力系統,必須為它安裝相應的壓力防護部件,它們應考慮到最弱的承壓件的需要。
⑥、最低溫度和最高溫度分別為1℃和40℃。
⑦、電氣連接必須符合礦接地的規定,電器設備必須接地,必須使用保險,以防短路。
⑧、安裝好后,應祥細作以下檢查: