水東水電廠共裝有4臺20 MW機組,水輪機為軸流槳式,發電機為懸吊式。2號機組自1994年7月投產后,于1995年9月進行第一次大修,大修后運行情況基本良好,但從1998年開始出現整個調速系統油質嚴重碳化現象,截至2000年11月已換油11次,嚴重影響機組的正常運行。
1 原因分析
該廠調速系統共裝30號透平油6 t左右,由3臺螺桿油泵將壓力油罐建壓至4 MPa,供調速器對導葉和槳葉活塞進行操作調整,油出現碳化后,除了轉輪體內漿葉操作部分無法檢查外,調速系統其余各部分經檢查均正常,且整個系統在碳化過程中運行基本正常,初步判斷油碳化是由軸電流引起的。
根據同步發電機結構及工作原理,由于定子鐵芯組合縫、定子硅鋼片接縫,定子與轉子空氣間隙不均勻,軸中心與磁場中心不一致等,機組的主軸不可避免地要在一個不完全對稱的磁場中旋轉。這樣,在軸兩端就會產生一個交流電壓。正常情況下要求機組轉動部分對地絕緣電阻大于0.5MΩ,如果在大軸兩端同時接地就可能產生軸電流。
2 原因查找及處理
2.1 接地點的查找
能否找到大軸兩端的接地點是問題的關鍵。由于該機組水導軸承采用水潤滑橡膠軸承,在正常運行時,水導軸承內、轉輪室里均充滿水或非常潮濕。由于轉動部分的絕緣電阻基本為零,這樣大軸下部接地已在所難免。而大軸上部可能接地的部分有上導軸承、推力軸承和受油器等,測量結果均為合格。為了查找另一接地點,在水導瓦的橡膠端部用500 V搖表測絕緣,電阻為零。為了進一步驗證,又在同一批澆鑄出廠的備品水導瓦表面測絕緣,結果也為零,由此證明橡膠瓦本身具有導電性。為此先將水導軸承拆除,之后對其它部件,安裝一個就測量一次大軸絕緣。當裝到受油器油管時,再次出現大軸絕緣為零。經查,法蘭連接處絕緣墊與水導瓦為同一廠家生產,單獨測絕緣墊絕緣,其值也基本為零,到此大軸的兩個接地點已找到。
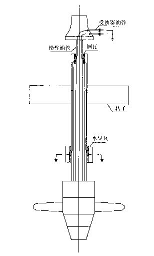
2.2 軸電流的導通路徑
由于軸電壓和兩個接地點的存在,必然會產生軸電流。當電流流過一個大的導體時,它的趨表效應是很明顯的,它所流過的路徑如圖1所示。圖中操作油管除了隨大軸一起旋轉外,在操作槳葉時,還會沿軸線方向作上下運動,由于在操作油管上瓦座中的銅瓦與操作油管導向塊之間存在一定的間隙,這樣隨操作油管的不斷運動和電流的流過使間隙中的油膜不斷遭到電弧的放電侵蝕,而使油不斷碳化。

圖1 軸電流的導通路徑示意圖
2.3 軸電流的消除
(1) 通過更換受油器油管連接處的絕緣墊,以保證大軸不發生兩點接地,進而避免軸電流的產生。
(2) 大修后應加強對調速系統油質的監督,發現問題及時分析并查明原因。
變電站運行工崗位風險告知卡
高風險作業風險評估方案
電氣設備的粉塵防爆
雜散電流的防治安全技術措施
電氣防火防爆技術知識手冊
觸電防護技術知識手冊
架空管路拆除安全技術措施
低壓配電作業風險點告知卡
車間安全生產注意事項
配電箱安裝及使用安全要求
保證電力施工現場作業安全的組織措施…
怎樣進行線損分析
防臺防汛安全措施
焊接立焊時的操作方法
跌落式熔斷器的正確操作方法
在電氣設備上工作 保證安全的技術措施