
發電機無功負荷的調節、有功負荷的調節、并網操作及發電機甩負荷操作,基本上都采用手動來完成。若發電機滿負荷運行時,因外線故障或大電網停電,發電機電壓迅速降低,使發電機出口斷路器跳閘,發電機轉速迅速升高,發電機出口電壓將升高到額定電壓的1.3倍以上,此電壓將使發電機的絕緣受到嚴重威脅。若發電機有絕緣缺陷,則發電機將會被燒壞。同時水輪機由于沒有調速器,使得機組轉速不斷升高,將出現"飛車"現象。
3 安全措施
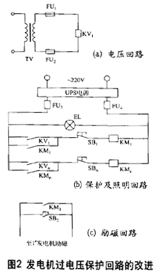
3.1 發電機過電壓保護的設置
如圖2所示,在發電機出口電壓互感器二次側裝設電壓繼電器KV1見圖2(a),整定值為發電機額定電壓的1.25~1.3倍。當發電機出口電壓達到整定值時,其KV1的動合觸點接通,使中間繼電器KM1線圈勵磁并自保持見圖2(b),若一個電站有多臺機組,則采用圖中并聯接法。同時,KM1的另一動合觸點也接通,見圖2(c),使發電機滅磁。這樣,發電機不會出現空載過電壓的現象,KM1的設置是為了防止發電機轉子磁場的"慣性"作用,確保發電機有效滅磁,發電機在下一次起勵前必須按復位按鈕SB1,再進行其它正常操作。其它機組KM的接法同KM1。發電機滅磁后,則發電機出口沒有電壓,此時,事故照明電源由UPS提供。

UPS電源的容量確定與機組的數量成正比。
3.2 水輪機自動操作的設置
單相交流電動機經減速器來控制水輪機的操作手柄,水輪機的轉速控制及有功負荷控制由電動機來完成。當開機或增大有功負荷時,按下SB3;當關機或減有功負荷時,按下SB4。若機組滿負荷運行,此時當出現外線路故障或大電網停電時,由中間繼電器KM1的動合觸點使電動機運轉見圖3,經減速器使水輪機的導水機構自動關閉,此時位置開關S1斷開,電動機停止運轉,自動過程結束。S2安裝在水輪機導水機構100%時對應的碰桿位置。當外線故障或大電網停電時,由中間繼電器KM1的動合觸點使電動機運轉,經減速器使水輪機的導水機構自動關閉,防止了機組"飛車"事故的發生。

4 結論
小型低壓水輪發電機并網的安全運行已顯得非常重要,我們對興山縣三岔口電站(2×320kW)進行了改造,經兩年來的運行,具有動作可靠、反應靈敏、操作方便等特點,取得了良好的社會效益和經濟效益。
變電站運行工崗位風險告知卡
高風險作業風險評估方案
電氣設備的粉塵防爆
雜散電流的防治安全技術措施
電氣防火防爆技術知識手冊
觸電防護技術知識手冊
架空管路拆除安全技術措施
低壓配電作業風險點告知卡
車間安全生產注意事項
配電箱安裝及使用安全要求
保證電力施工現場作業安全的組織措施…
怎樣進行線損分析
防臺防汛安全措施
焊接立焊時的操作方法
跌落式熔斷器的正確操作方法
在電氣設備上工作 保證安全的技術措施