本標準參照采用國際標準ISO 7202—1987《消防——滅火劑——干粉》。
1 主題內容與適用范圍
本標準規定了碳酸氫鈉干粉滅火劑的技術要求、試驗方法、檢驗規則、標志、包裝、運輸和貯存等內容。
本標準適用于碳酸氫鈉為主料的干粉滅火劑。
2 引用標準
GB 601 化學試劑 滴定分析(容量分析)用標準溶液的制備
GB 603 化學試劑 試驗方法中所用制劑及制品的制備
GB 1887 食品添加劑 碳酸氫鈉
GB 13532 干粉滅火劑通用技術條件
3 技術要求
碳酸氫鈉干粉滅火劑主要性能應符合下表規定:

4 試驗方法
4.1 碳酸氫鈉含量
4.1.1 滴定法(仲裁法)
4.1.1.1 方法提要
干粉滅火劑試樣破壞硅膜后,加熱蒸餾水溶解過濾,取其濾液,以溴甲酚綠-甲基紅為指示液,用鹽酸標準溶液滴定。
4.1.1.2 試劑
a. 鹽酸(GB 622):c(HCl)約為0.1mol/L標準滴定溶液;
b. 甲基紅指示液(2g/L):稱取0.20g甲基紅,溶于乙醇,用乙醇稀釋至100mL;
c. 溴甲酚綠指示液(1g/L):稱取0.10g溴甲酚綠,溶于乙醇,用乙醇稀釋至100mL;
d. 溴甲酚綠-甲基紅指示液:將溴甲酚綠乙醇溶液(1g/L)與甲基紅乙醇溶液(2g/L)按3+1體積比混合,搖勻;
e. 丙酮(GB 686);
f. 乙醇(95%)。
4.1.1.3 儀器
a. 天平:感量0.2mg;
b. 容量瓶:500mL;
c. 移液管:50mL;
d. 滴定管:50mL;
e. 錐形瓶:250mL。
4.1.1.4 試驗步驟
a. 稱取干粉滅火劑試樣2g,稱準至0.0002g,于50mL燒杯中加3~4mL丙酮并不斷攪拌。
b. 待丙酮揮發后,加熱蒸餾水(60~70℃)溶解、過濾,用約250mL熱蒸餾水洗滌不溶物,將濾液和洗滌液均收集在500mL容量瓶中,用蒸餾水稀釋至500mL,搖勻,即為待測溶液A。
c. 用移液管吸取50mL溶液A于錐形瓶中,加10滴溴甲酚綠-甲基紅指示液(4.1.1.2d)。
d. 用鹽酸標準溶液(4.1.1.2a)滴定至試驗溶液的顏色由綠色變為暗紅色。
e. 煮沸2min,溶液顏色變回藍色,冷卻至室溫。用鹽酸標準溶液繼續滴定至暗紅色為終點。
4.1.1.5 結果
以質量百分數表示總堿量,即碳酸氫鈉含量x
1。x
1(%)按式(1)計算:

式中:c——鹽酸標準溶液實際濃度,mol/L;
V——滴定所消耗鹽酸溶液的體積,mL;
m
0——試樣質量,g;
0.08401——與1.00mL鹽酸標準溶液[c(HCl)=1.000mol/L]相當的以克表示的碳酸氫鈉的質量。平行測定結果之差不大于0.2%,取其算術平均值作為測定結果。
4.1.2 灼燒法
4.1.2.1 儀器、設備
a. 天平:感量0.2mg;
b. 馬福爐:控溫范圍0~1100℃,分度值20℃;
c. 稱量瓶:φ50mm×30mm;
d. 干燥器:φ220mm。
4.1.2.2 試驗步驟
a. 在已恒重的三只稱量瓶中,分別稱取已干燥的干粉滅火劑試樣5g,稱準至0.0002g。干粉滅火劑的干燥同4.3.2.2條。
b. 將稱量瓶置于馬福爐內,在溫度270~300℃,灼燒1h。
c. 取出稱量瓶置于干燥器中,冷卻45min,稱量。
4.1.2.3 結果
碳酸氫鈉含量x
2,以質量百分數表示,按式(2)計算:

式中:m
1——灼燒前干粉滅火劑試樣質量,g;
m
2——灼燒后殘留物質量,g;
2.709——按碳酸氫鈉計算之換算系數。
取平行測定結果的算術平均值作為測定結果。
4.2 松密度
4.2.1 儀器
a. 天平:感量0.2g;
b. 具塞量筒:量程250mL,分度值2.5mL;
c. 秒表:分度值0.1s。
4.2.2 試驗步驟
4.2.2.1 稱取干粉滅火劑試樣100g,稱準至0.2g,置于具塞量筒中。
4.2.2.2 以2s一個周期的速度,上下顛倒量筒10個周期。
4.2.2.3 將具塞量筒垂直靜置3min后,記錄試樣體積。
4.2.3 結果
松密度D
b按式(3)計算:
D
b=m
3/V …………………………(3)
式中:m
3——干粉滅火劑試樣的質量,g;
V——干粉滅火劑試樣所占的體積,mL。
平行試驗結果之差不大于0.04g/mL,取其算術平均值作為測定結果。
4.3 吸濕率
4.3.1 儀器、設備、試劑
a. 恒溫恒濕系統:飽和氯化銨溶液的增濕系統(仲裁檢驗時采用)或調溫調濕箱;
b. 天平:感量0.2mg;
c. 稱量瓶:φ50mm×30mm;
d. 干燥器:φ220mm;
e. 氯化銨:化學純。
注:飽和氯化銨溶液增濕系統是以5L/min的流量,將通過飽和氯化銨溶液的空氣通入增濕器,增濕器下部也裝有飽和氯化銨溶液(見圖1)。

圖1 飽和氯化銨溶液的增濕系統
1―供氣穩壓緩沖裝置;2―廣口瓶;3―飽和氯化銨溶液;4―φ250mm增濕器;5―內徑6mm玻璃管;6―空氣出口;7―增濕器孔板
4.3.2 試驗方法
4.3.2.1 將干粉滅火劑試樣置于真空干燥箱內,真空度0.095~0.096MPa、溫度50±2℃,干燥1h。
4.3.2.2 在已恒重的稱量瓶中,稱取干燥的干粉滅火劑試樣5g,稱準至0.0002g。
4.3.2.3 將稱量瓶免蓋置于溫度21±3℃,相對濕度78%的恒溫恒濕系統內24h。
4.3.2.4 取出稱量瓶,加蓋置于干燥器中,靜置15min稱量,稱準至0.0002g.
4.3.3 結果
吸濕率x
3,以質量百分數表示,按式(4)計算:

式中:m
4——吸濕前干粉滅火劑試樣質量,g;
m
5——吸濕后干粉滅火劑試樣質量,g。
取三次試驗結果的算術平均值作為測定結果。
4.4 抗結塊性
4.4.1 儀器、設備、試劑
a. ZS-AⅡ型震篩機:擺動次數285±10次/min,震擊次數32±1次/min分,震擊高度4.0mm;
b. 恒溫恒濕系統:同4.3.1條;
c. 針入度儀:符合GB 4509規定,精度0.1mm,標準針質量為50.00±0.05g;
d. 電熱恒溫干燥箱:精度±2℃;
e. 燒杯:100mL;
f. 秒表:分度值0.1s;
g. 氯化銨:化學純。
4.4.2 試驗步驟
4.4.2.1 在干燥、潔凈的燒杯中,裝滿干粉滅火劑試樣,用刮刀刮平表面。
4.4.2.2 放在震篩機上,用夾具夾緊,震動5min。
4.4.2.3 在溫度為21±3℃、相對濕度為78%的恒溫恒濕系統內增濕24h。
4.4.2.4 移入溫度為48±3℃的電熱恒溫干燥箱中24h。
4.4.2.5 用針入度儀測其針入度。測定時針尖要貼近試樣表面,針入點之間、針入點與杯壁之間的距離不小于10mm。針自由落入試樣內5s后,記錄針插入試樣的深度,以毫米表示。每只燒杯的試樣測三個針入點。
4.4.3 結果
取三次試驗結果的算術平均值作為測定結果。
4.5 斥水性
4.5.1 儀器
a. 天平:感量0.2g;
b. 秒表:分度值0.1s;
c. 燒杯:100mL;
d. 量筒:50mL。
4.5.2 試驗步驟
4.5.2.1 在100mL燒杯中,稱取干粉滅火劑試樣50g,稱準至0.2g。
4.5.2.2 沿杯壁緩慢地加入50mL水,在室溫下靜置5h。
4.5.2.3 使燒杯在2s內傾斜,直至倒置,觀察試樣結塊情況,用秒表記錄試樣全部流下時間。
4.5.3 結果
取三次試驗結果的算術平均值作為測定結果。
4.6 粒度分布
4.6.1 儀器、設備
a. 天平:感量0.2g;
b. 秒表:分度值0.1s;
c. ZS-AⅡ型震篩機:同4.4.1;
d. 套篩:(符合GB 6003規定)φ200mm,網孔尺寸分別為0.250mm、0.125mm、0.063mm、0.040mm一個蓋和一個底盤。
4.6.2 試驗步驟
4.6.2.1 稱取干粉滅火劑試樣50g,稱準至0.2g,放入0.250mm頂篩內,下面依次為0.125mm、0.063mm、0.040mm篩和底盤,蓋上頂蓋。
4.6.2.2 將套篩裝在震篩機上,震動10min。
4.6.2.3 分別稱量留在每層篩上和底盤中的干粉滅火劑質量。
4.6.3 結果
干粉滅火劑在每層篩和底盤中的質量百分數x
4按式(5)計算:
x
4(%)=m
6/m
7×100 …………………………(5)
式中:m
6——干粉滅火劑試樣在每層篩和底盤中的質量,g;
m
7——干粉滅火劑試樣的質量,g。
取回收率大于98%的二次試驗結果算術平均值作為測定結果。
4.7 耐低溫性
4.7.1 儀器、設備
a. 低溫試驗儀:控溫范圍0~-70℃,精度±1℃;
b. 試管:φ20mm×150mm;
c. 天平:感量0.2g;
d. 秒表:分度值0.1s。
4.7.2 試驗步驟
4.7.2.1 稱取干粉滅火劑試樣20g,稱準至0.2g,放入干燥、潔凈的試管內。
4.7.2.2 將試管加塞后,放入-55℃環境中1H。
4.7.2.3 取出試管,使其在2s內傾斜,直至倒置,用秒表記錄試樣全部流下的時間。
4.7.3 結果
取三次試驗結果的算術平均值作為測定結果。
4.8 電絕緣性
4.8.1 儀器、設備
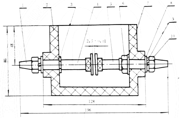
a. 試驗杯(見圖2):試驗杯有一對安裝在同一軸線上的圓盤形平板電極,杯體由不吸潮的高絕緣性材料制成。圓盤形電極任何部位與試驗杯的距離不小于13mm。試驗杯的頂部與圓盤形電極頂部距離不小于32mm。試驗杯設計應便于拆卸、清理和磨光,且能使兩個圓盤形電極間距離容易調節;圓盤形平板電極由拋光的黃銅板制成,直徑為25mm,厚度不小于3mm,邊緣成直角,兩電極間距離為2.50±0.01mm。

圖2 電絕緣杯
1―香蕉插頭;2―杯體;3―擋片;4,5―電極;6―調節螺母;7―調節墊片;8―墊片;9―彈簧墊片;10―緊固螺母
b. 升壓變壓器:由一個適當的低壓電源供電,輸出電壓可連續升到5kV以上;
c. CS-50Ⅱ型跌落試驗臺:最大跌落高度30mm,最大允許負荷50kg,頻率范圍0~1.667Hz連續可調,下落加速度大于9.3m/s
2。
4.8.2 試驗步驟
4.8.2.1 將試驗杯裝滿干粉滅火劑試樣,放在跌落臺上夾緊。
4.8.2.2 以1Hz的頻率,下落高度為15mm的條件,跌落500次,使干粉滅火劑震實。
4.8.2.3 將試驗杯安裝在升壓變壓器上,在漏電流1mA檔的狀態下迅速升壓直至擊穿為止,記錄擊穿電壓值。
4.8.3 結果
取二次試驗結果的算術平均值為測定結果。
4.9 噴射性能
4.9.1 方法Ⅰ(仲裁檢驗)
4.9.1.1 儀器、設備
a.2.25kg干粉專用噴射器(見圖3):噴射器容量2.25kg,推進氣體(CO
2)40±4g,噴射器內高度375mm,噴射器內徑90mm,噴射管內徑10mm,噴嘴直徑4.25mm;

圖3
1―出粉管;2―出粉接頭;3―膠管總成;4―瓶體;5―箍帶;6―CO
2氣瓶;7―氣頭總成;8―鉛封;9―保險絲;10―自攻螺絲;11―壓把總成;12―干粉滅火劑
b.CS-50Ⅱ型跌落試驗臺:同4.8.1條;
c.電熱鼓風干燥箱:精度±2℃;
d.臺秤:精度0.05kg。
4.9.1.2 試驗步驟
a. 將質量為2250×D
b±10g的干粉滅火劑試樣裝入專用噴射器(其中D
b為試樣的松密度),并將二氧化碳貯氣瓶裝到噴射器的器頭上,然后把器頭緊固在專用噴射器上。
b. 將噴射器固定在跌落試驗臺上,以0.417Hz的頻率,從25.0±1.5mm的高度跌落250次。
c. 將噴射器放在49±2℃的干燥箱內8h。
d. 取出噴射器,充壓5s后開始噴射,直至壓力消失。
e. 稱量噴射器內剩余的干粉滅火劑質量。
4.9.1.3 結果
噴射率x
5,以質量百分數表示,按式(6)計算:

式中:m
8——噴射前噴射器內干粉滅火劑的質量,g;
m
9——噴射后噴射器內干粉滅火劑的質量,g。
取三次試驗結果的算術平均值為測定結果。
4.9.2 方法Ⅱ
4.9.2.1 儀器、設備
a. 容積8.5±0.3L的干粉滅火器(符合GB 4351):推進氣體(CO
2)180±5g,虹吸管內徑12.0mm,虹吸管距筒底的距離15mm,噴嘴直徑11.5mm,筒體直徑160mm,噴管長600mm;
b. 振動臺:振幅3mm,頻率10~80Hz;
c. 電熱鼓風干燥箱:精度±2℃;
d. 臺秤:精度0.05kg;
e. 秒表:分度值0.1s。
4.9.2.2 試驗步驟
a. 將8kg干粉滅火劑試樣裝入干粉滅火器內。
b. 將干粉滅火器固定在振動臺上。在振幅1.27mm、頻率34Hz的條件下,振動30min。
c. 將干粉滅火器放在54±3℃的電熱鼓風箱內24h。
d. 取出干粉滅火器,靜置至室溫,裝上貯存在20±5℃的二氧化碳貯氣瓶。
e. 充壓5s后開始噴射,直至壓力消失。
f. 稱量干粉滅火器內剩余的干粉滅火劑的質量。
4.9.2.3 結果
噴射率x
6按式(7)計算:

式中:m
10——噴射前滅火器內干粉滅火劑的質量,g;
m
11——噴射后滅火器內干粉滅火劑的質量,g。
取三次試驗結果的算術平均值為測定結果。
4.10 滅火效能
4.10.1 B類火滅火試驗
4.10.1.1 儀器、設備
a. 秒表:分度值0.1s;
b. 風速儀:
c. MF3標準干粉滅火器:符合GB 13532中第5.8條;
d. 燃料:90號車用汽油(符合GB 484規定)或70號汽油(符合GB 489規定);
e. B類火鋼質油盤(見圖4):直徑1484mm,高150mm,壁厚2.5mm。

圖4 B類火鋼質油盤
4.10.1.2 試驗步驟
a. 試驗溫度為0~30℃,風速不大于3m/s。
b. 在油盤內加20L水后倒入55L燃料(符合4.10.1.1)條規定。并使油盤中各點的燃料深度不小于15mm,但不大于50mm。
c. 點火、預燃時間60s。
d. 用滅火器滅火。開始時操作者與油盤的距離不得小于1.5m,以后操作者可在任何距離移動進行滅火。在滅火過程中,操作者不得接觸油盤。
4.10.1.3 結果
火焰全部熄滅為滅火試驗成功。三次試驗二次滅火即為合格。
4.10.2 C類火滅火試驗,若符合4.10.1的要求,即認為其具有撲滅C類火災的滅火效能。
5 檢驗規則
5.1 批、組的定義:
a. 批是指一次投料于加工設備中制得的均勻產品;
b. 組是包括一批或多批(不超過25t),并且是在相同的環境條件下,用相同原料和工藝生產的產品。
5.2 干粉滅火劑應由生產廠的質量檢驗部門進行檢驗:生產廠應保證所有出廠的干粉滅火劑都符合本標準要求;每批、組出廠的產品都要附有質量合格證明。
5.3 使用單位有權按照本標準規定的檢驗規則和試驗方法,對所收到的干粉滅火劑的質量進行檢驗,驗證其指標是否符合本標準要求。
5.4 取樣:
5.4.1 為了保證樣品與總體的一致性,取樣要有代表性。
型式檢驗樣品應從出廠檢驗合格產品中取樣。取樣前應將產品混合均勻,每一項性能在檢驗前也應將樣品混合均勻。
5.4.2 按“組”或“批”取樣,都應隨機抽取不少于40kg樣品。所取的受檢樣品必須貯存于潔凈、干燥、密封的專用容器內。
5.5 出廠檢驗:應按本標準中第4.1~4.7條規定的試驗方法進行檢驗。
5.6 型式檢驗:應按本標準中第4章規定的全部試驗方法進行檢驗。有下列情況之一時,進行型式檢驗:
a. 新產品鑒定或老產品的轉廠生產時;
b. 正式生產后,如原料工藝有較大改變時;
c. 正式生產時的定期檢驗;
d. 長期停產,恢復生產時;
e. 國家質量監督機構提出進行型式檢驗要求時。
5.7 檢驗結果判定:出廠檢驗與型式檢驗的結果必須符合本標準第3章技術要求。如有一項不符合本標準要求,應重新自兩倍包裝中取樣。復檢后如仍有一項不符合本標準要求,則判為不合格產品。
6 標志、包裝、運輸和貯存
6.1 標志
每個包裝上都必須清晰、牢固地標明生產廠名稱、產品名稱、商標、標準編號、生產日期或生產批號、合格標記、重量及適用于火災類別的說明和簡單的貯存保管要求等。
6.2 包裝
干粉滅火劑應密封在塑料袋內,塑料袋外應加保護包裝。
6.3 運輸及貯存
干粉滅火劑應貯存在通風、干燥處,運輸中應避免雨淋,防止受潮和包裝袋破損。
附加說明:
本標準由中華人民共和國公安部提出。
本標準由全國消防標準化技術委員會第三分技術委員會歸口。
本標準由公安部天津消防科學研究所負責起草。
本標準主要起草人許春元、王允培、劉玉恒。