5.管路的彎曲
對于直徑在25mm以下的管路,使用配套的彎管彈簧,首先將與管規格相配套的彎管彈簧插入需要煨彎的部位,如果管路長度大于彎管彈簧的長度,可用鐵絲拴牢彈簧的一端,拉到合適的位置,兩手抓住彎管彈簧的兩端位置,用膝蓋頂住被彎部位,兩端用力逐漸煨出所需要的彎度,注意不能用力過快過猛,以免管路發生變形。對于直徑在32mm以上的管路,使用彎管彈簧會有一定的困難,這時可以使用熱煨法,首先將彎管彈簧插入管內,對規格較大的管路,沒有配套的彎管彈簧時,可以把細砂灌入管內并振實,堵好兩端管口,用電爐或熱風機對需要彎曲部位進行均勻加熱,加熱到可以彎曲時,將管子的一端固定在平整的木板上,逐步煨出所需要的彎度,然后用濕布抹擦彎曲部位使其冷卻定型。寒冷天氣施工時可以把細砂炒熱并把管路拿到室內預制。
(二)磚墻內,焊接鋼管的操作工藝
1.預留箱盒位置
基本與PVC管的方法相同,只是為了以后安裝箱盒施工方便,鋼管不能進入箱盒洞內太長,以便采用接短管的辦法與箱盒連接。
2.敷設管路與PVC管的敷設方法基本相同
3.管路的連接
包括管路與管路的連接和管路與箱盒的連接兩種情況。
(1)管路與管路的連接:砌體內暗敷設的管路采用套管焊接的方法連接,為了保證連接質量,一般需要特別加工定做套管,要求套管的內徑比所連接的鋼管外徑大2mm,套管的長度為所連接的鋼管外徑的2.2倍。連接時首先把鋼管的一端插入套管的1/2處,電焊點焊固定后插入另一端,然后焊接,要求焊接牢固、嚴密,不得有夾渣、咬肉等。
(2)管路與箱盒的連接:本項工作應在土建對+0.5m水平控制線進行核查后,配合箱盒的安裝同時進行。首先測定箱盒位置,根據其位置截取適當長度的短管,短管的一端應提前套好絲扣,絲扣的長度在15mm左右,按照管路與管路連接的方法,把短管的另一端與原來管路連接,注意進箱的鋼管如果有多根時應排列整齊,兩管之間的距離應大于所用鎖母邊沿寬度的2倍,以保證鎖母的安裝,管路連接后上好鎖母,以供安裝配電箱、接線盒使用。
4.管路的切斷
切斷管路使用砂輪鋸或鋼鋸,注意鋸出的管口應平齊、不得有斜口,鋸斷后應用圓銼清除毛刺。
5.管路的套絲
管路套絲一般使用套絲機或手動套絲扳。使用套絲機時,應注意加油潤滑,使用手動套絲扳時,應注意均勻用力,管徑大于32mm時,必須分三次套成,以保證絲扣完整清晰。
6.鋼管的彎曲
對管徑在25mm及以下的鋼管可在現場使用手動彎管器現場彎制,可用腳踩住鋼管的一端然后扳動彎管器,逐步彎出所需要的彎度。對管徑在32mm以上及80mm以下的鋼管一般使用液壓彎管器,注意選取與鋼管規格相對應的彎管模具,模具放好后,壓動壓桿或開動電動彎管器的液壓泵,注意觀察鋼管的彎曲情況,達到所需要的彎曲后,及時停止液壓動作。對管徑在80mm以上的鋼管,最好到專業廠家加工定做,以保證彎管的質量,特殊情況下也可以采用熱煨法現場制作,熱煨時首先要把細砂炒干,用木楔封住鋼管的一端,從另一端灌入干砂,邊灌邊用手錘敲打,使之密實,然后用木楔堵住管口,用氧炔焰或烘爐轉動加熱,燒紅后煨出所需的彎度。隨煨彎隨冷卻。要求彎曲半徑不小于鋼管外徑的6倍,埋入地下或混凝土內時,彎曲半徑不小于鋼管外徑的10倍,彎扁程度不大于鋼管外徑的1/10。
7.跨接地線
對箱盒兩端的鋼管必須焊接跨接地線,跨接地線的焊接長度不小于鋼筋直徑的6倍,使用扁鐵時應三面圍焊,焊接長度不小于扁鐵寬度的2倍。
表4—1?????????????????? 跨接地線規格表(mm)
管徑 | 圓鋼 | 扁鐵 |
15~40 | φ6 | - |
50~63 | φ10 | 25×3 |
70以上 | φ8×2 | (25×3)×2 |
?
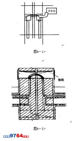
8.變形縫的處理
在變形縫的兩側各預埋一個接線箱,在變形縫的一側把短管的一端用根母和鎖母固定在箱底部,在另一側的接線箱底部的垂直方向開長孔,其孔徑長寬尺寸不小于管直徑的2倍,在變形縫的兩側的鋼管及接線箱上焊接補償跨接地線(圖4—1),當穿過變形縫的導線較多或導線截面較大時要采用直筒式接線箱(圖4—2)。
?

9.管路的防腐
?埋入砌體的鋼管內外壁必須做防腐處理,一般先做管內壁防腐,可采用灌防銹漆的辦法,做好內壁防腐的鋼管要注意保持通風干燥,以保證防銹漆干透。外壁防腐采取刷防銹漆的辦法。
五、應注意的質量問題
1.留箱盒位置時,留洞尺寸小,管進洞不順直,高度不合適,造成安裝箱盒時需要剔鑿,浪費人力、物力。應總結經驗,加強責任心,認真審核圖紙并和土建專業協商。
2.由于PVC管在接頭內插接不到位,膠粘劑涂抹不均勻,造成管接頭松動,可在涂抹膠粘劑后將管及時插入并用力轉動,使之插接到位。
3.PVC管煨彎時出現凹扁現象,可選用配套的彎管彈簧,且熱煨時保證煨彎部位受熱均勻。
4.鋼管煨彎時出現凹扁過大,彎曲半徑不夠的情況,注意在使用手動彎管器時,受力點要適當移動;使用液壓彎管器時,模具要配套,焊接鋼管的焊縫不應放在側面;鋼管直徑大于80mm時,最好到專業廠家加工定做。
5.跨接地線焊接長度不夠,焊縫不飽滿,出現夾渣、咬肉等質量問題,是由于操作人員責任心不強,應加強自檢、互檢并加強技術培訓。
六、成品保護要求
1.其他工種不得敲打或彎折電線管路,管路敷設完成后,要及時套好管堵,其他工種不得隨意拆除。
2.變形縫兩側的接線箱做好后要及時封堵,以免造成污染和堵管。