?? 汽化器又稱蒸發升壓器,是一種不使用動力的氣體輸送設備。從汽化器的工作原理上講,它屬于換熱器的一種,需要有一定的熱源來進行熱量交換。
液化石油氣在使用(燃燒)前必須把它由液態轉變成氣態并過熱(滿足輸送要求)的過程中,需要從外界吸取大量熱量。汽化器是為液態液化氣轉換成氣態液化氣,并過熱至一定溫度提供熱量的熱交換設備。
液化石油氣的蒸發升壓器,主要是利用外加熱源對液化石油氣進行加熱,增加液化氣的汽化量,使氣體壓力升高,以便向工業窯爐輸送燃燒或加快液化石油氣的裝卸作業(在北方地區的冬季常用此工藝)。另外,在對殘液的回收利用工藝中,用汽化器將常溫下不易揮發的殘液(戊烷、戊烯)加熱,使之汽化,送爐內燃燒使用。
在液化石油氣站直供工業窯爐燃燒的生產工藝中,由于需用氣量大,儲罐內的液態石油氣自行汽化的能力不能滿足用氣需求,特別是當氣溫冷熱變化或儲罐內液態儲量增減時,更無法保證正常生產,必須配置汽化器。
一、汽化器的結構形式及工作原理
汽化器的種類很多,按其結構形式可分為列管式、盤管式等。依據外界供熱熱源及介質的不同,汽化器又分為以下幾種: ??? 電加熱式 熱源為電加熱器,介質為水;
壁掛電加熱式 熱源為電加熱器,介質為水;
蒸汽加熱式 熱源為飽和蒸汽,50~500kg/h介質為水,1000~400kg/h介質為冷凝水;
熱水加熱式 熱源及介質為循環熱水;
空溫式 熱源及介質為環境空氣。
1.熱水加熱汽化器
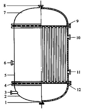
熱水加熱汽化器是用熱水來加熱液化石油氣,使其加速汽化的一種設備。該汽化器屬于盤管式結構,主要由圓筒形殼體和一組盤管構成(見圖1-11-13),熱水在殼程, 液化石油氣在盤管管內。液態石油氣進入汽化器后,經盤管與熱水進行熱量交換,被加熱后汽化,壓力提高,汽化后的石油氣由管程上部輸送到燃燒室燃燒。熱水由殼體下部進入汽化器,被冷卻后經上部排出。為保持換熱溫度的恒定,由外加動力連續輸給熱水。
?

熱水汽化器結構簡單,制造方便,且換熱溫度易于控制,但汽化能力較小,工藝上需要配置保證熱水供應的熱源和動力設備。
(1)工作原理50~500kg/h的熱水加熱式汽化器為瞬時汽化方式,液化氣由浸沒在溫水中的不銹鋼盤管內通過,吸收溫水的熱量并過熱,經過氣液分離器脫去重組分后輸入管網。
溫度控制系統與熱水循環泵聯動,當汽化器內水溫低于用戶設定的溫度時,循環泵會自動打開,為汽化器提供溫度適合的熱水,當汽化器內的熱水溫度達到要求時,熱水循環泵自動停止工作。
汽化量在1000kg/h以上的熱水加熱式汽化器為有液汽化方式,液化氣吸收汽化器內同軸列管束中熱水的熱量汽化并過熱,經過不銹鋼濾網脫去水分和重組分后輸入管網。
汽化器在工作時,內部存在一定高度的液化氣液面,當用氣量上升或下降時,液化氣液面也會隨著上升或下降,以尋求合理的換熱面積來適應汽化量的變化。
熱水通常由外界熱水爐、循環泵及高位水箱組成的熱水供給系統,并由儀表自動控制在用戶設定的工作范圍內。
當有以下情況出現時,液化氣進口電磁閥會自動關閉。
①液化氣液位超限。
②出氣溫度超限(下限)。
③回水水溫超限(下限)。
④回水水流中斷。
當汽化器內壓力超過安全閥的設定壓力時,安全閥自動起跳。
(2)技術特點
①具有氣溫、水溫、低液位、水流中斷安全聯鎖。
②設備設有磁翻板液位計,可直觀顯示液位,并提供液位安全聯鎖信號。
③數字型智能儀表。
④控制儀表具有自鎖功能。
⑤蒸發器內的換熱管為不銹鋼質。
2.蒸汽加熱汽化器
蒸汽加熱汽化器是由蒸汽作為加熱劑的汽化設備,從結構上看,它由液相段、列管段和氣相段3部分組成,是一種列管式設備(見圖1-11-14)。殼程的介質為蒸汽,管程介質為液化石油氣。液化石油氣自液相段進入汽化器,經列管段的管程與殼程的蒸汽進行熱量交流,被加熱汽化后進入氣相段排出。蒸汽自列管段的上部進入,冷凝水自下部排出。
?

由于蒸汽具有較高的熱量,進入汽化器的蒸汽壓力要控制在小于0.196以內,即蒸汽飽和溫度不超過90℃,間接地將液化石油氣的氣體溫度控制在45℃以下,以保證使用安全。在汽化器的運行中,必須使氣相出口閥處于開啟狀態,同時在汽化器的氣相段要裝設安全閥和壓力表,蒸汽汽化器的制造要執行壓力容器的標準和規定,與熱水汽化器相比,其造價和質量要求都高。
蒸汽汽化器多用于對液化石油氣殘液的加熱汽化。由于殘液的沸點較高,常溫下不能汽化,用蒸汽將其加熱,使殘液汽化后送爐內燃燒使用。
(1)工作原理液化氣由浸沒在溫水中的不銹鋼管內通過,吸收蒸汽的熱量后汽化并過熱,經過氣液分離器脫去重組分后輸入管網。
飽和蒸汽熱源由溫控儀表自動控制在用戶設定的工作范圍內。
當溫度低于用戶設定的最低溫度或水溫高于用戶設定的最高溫度時,控制盤會自動報警。
當汽化器內壓力超過安全閥的設定壓力時,安全閥自動起跳。
在工作過程中汽化器有一定高度的液面存在,當用氣量上升或下降時,液化氣液面也會隨著上升或下降,以尋求合理的換熱面積來適應汽化量的變化。
當有以下情況出現時,液化氣進口電磁閥會自動關閉。
①液化氣液位超限(上限)。
②冷凝水溫度超限(下限)。
③出氣溫度超限(下限)。
(2)技術特點
①不銹鋼同軸列管套管換熱結構,使汽化在相對溫和的條件下進行。
②翅片管換熱結構,增大了換熱面積,提高了換熱效率。
③設有磁翻板液位計的,可直觀顯示液化氣液位,并可提供安全聯鎖信號。
④蒸發器為不銹鋼材質,使設備使用壽命提高。
⑤具有低溫/高溫/低水位聯鎖報警。
⑥數字型智能儀表。
⑦采用優質保溫材料。
⑧具有蒸汽加熱及熱水加熱兩用功能。
⑨控制儀表具有自鎖功能,便于站房管理。
⑩集氣筒倒吸式排污,使殘液排除得更徹底。
3.電熱管汽化器
電熱管汽化器是近幾年出現的一種新式汽化設備,是在熱水汽化器的基礎上,將外加熱水供應改為在設備內由電熱管對水進行加熱,再由熱水對液化石油氣進行換熱,從而省掉了熱水的供給系統。電熱管汽化器結構如圖1-11-15所示。
科技賦能,AI強安——談AI技術在石油…
危險化學品安全技術說明書(PDF版)
170種危險化學品安全技術說明書匯編
化工企業冬季安全生產須知——防火篇
化工企業冬季安全生產須知——防凍凝篇
有限空間作業如何預防窒息和中毒
有限空間作業切記注意安全!
夏季有限空間作業安全風險防范
危險化學品目錄(2015版)
危險化學品分類及其危險特性
對制度落實不到位的原因調查及解決辦…
職工安全生產的權利和義務
危險化學品的儲存
有限空間作業安全知識
柴油罐的存放
加油站安全知識手冊