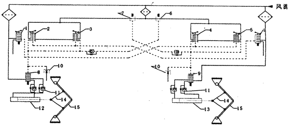
1工作原理
在初使狀態下,各種閥在如圖1所示的狀態下,由于無人操作,手、風控先導閥2和3;4和5的閥芯均處于上位。這時,風控兩位三通閥執行閥8和9的控制風源被關閉,風控兩位三通閥執行閥8和9的控制風源被關閉,風控兩位三通閥執行閥8和9在復位彈簧力的作用下,將其閥芯推向上,此時風源的壓力風將風閥8和9的下位通道經單向阻尼閥進入風缸的前腔,使其風門處于關閉狀態。此時交叉閉鎖6、7均處于通路。
假定當有人經過,從左開風門時,按下先導風閥2手柄,先導閥2的閥芯由上位改為下們,風路將由風源經閥7、閥2上通口、閥3下通口,將輸出的壓力風送入交叉閉鎖閥6的控制端口,使閥6閥芯向上移動,斷開了閥4和閥5的風源,使另一側風門操作無效,從而實現了對另一側風門閉鎖。在此同時,將另一路壓力風送入終端閥8的控制腔,使閥芯向下移動,此時閥8將其風缸12的前后腔進出風口換向,使后腔接入壓力風,前腔經過阻尼閥排空,完成了風門開啟過程。當人走過這道風門后,按下風閥3手柄,由于閥2已經在下位,閥3在人的操作下,也處于下位,從而斷開了終端執行閥8的控制風源,終端執行閥8和交叉閉鎖閥6在彈簧力的作用下復位,風閥8將風路換向,風缸12的前腔進入壓力風,后腔口開放,風缸12回縮,風門關閉,完成了風門關閉過程,同時交叉閉鎖閥6解鎖,允許另一側風門操作。另一側風門風路與其安全幾何對稱,原理同上
該風路的兩組開關風閥(閥2和3、閥4和5)采用的控制為乒乓式開關原理,即(乒乓為關,乒乓為開的原理)。無論另一側開關在何種狀態,只要動作當前開關,就能將其翻轉一種狀態。與數字電路的“異或門”電路原理相同。

式中Z——輸出
A——輸入
B——輸入
即:當A=1、B=1時Z=0、B=0時Z=0,當A=1或A=1、B=0時Z=1
風閥1的作用為:
在非常情況下,也就是當人過完第一道風門后將其關閉(他必須將風第一道門關閉,若不關閉第一道風門,第二道風門自然打不開),當他將第二道風門打開后,由于某種原因可能通過后沒有關門(特例),這時從關閉的一側風門來人時就不允許而且也打不開鎖關閉的風門,使其開著的風門關閉遠隔離側打開著的風門,使其開著的風門關閉,完成遠方風門復位操作。其工作原理是:兩組遠方風門復位關閉閥安裝在兩道風門的外側,是由風源直接供風,該閥為手控風閥,在松手后能夠自復位,當人操作開門先導閥無效時,說明另一側風門在開啟狀態,此時本側風門被閉鎖,這時可操作復位閥1,該閥動作后,將壓力風直接送入另一側風門的2個先導控制閥的控制腔,使2個先控制閥閥芯同時處于上位,從而斷開了另一側風門終端執行閥的控制風,風門關閉,在此同時,為本側控制回路解鎖,這時就可以自由的操作本風門的開關了。

圖1 風控風門原理圖
1-遠方風門復位閥;2-后風門外開關先導閥;3-后風門內開關先導閥;4-前風門內開關先導閥;5-前風門外開關先導閥;6、7-交叉閉鎖閥;8、9-終端執行風閥;10-截流閥;11-單向阻尼閥;12、13-風缸;15-風門
2技術指標
(1) 風動組件工作壓力:在0.2~0.8MPa內,均能正常工作。
(2) 風缸活塞直徑:Ф=100mm,活塞桿直徑Ф=25mm,行程S=1000mm;
(3) 風門推力(開門):當系統風壓力為0.4MPa時,F=3.08kN;
(4) 風門拉力(關門):當系統風壓力為0.4MPa時,F=2.93kN;
(5) 防擠人風門開距:0.3~0.5m;
(6) 開風門定時限:t=6s;關閉風門定時限:t=7s;
(7) 風門開角α=96°
3應用效果
該裝置通過在鐵法燈業集團公司小青礦井下W1E701#刨煤機工作面的應用,效果十分理想,操作者只需1.96N的力就可以操作。由于采用了風量阻尼式控制,風門的開啟十分平穩,兩道風門閉鎖及遠方復位靈敏可靠。
2003年8月18日鐵煤集團公司技術中心組織專家對小青礦“風控風動自動閉鎖風門系統”進行了鑒定,專家到現場對小青礦所研制的該系統裝置所提供的鑒定材料進行了分析、研究論證后一致認為:該系列設備計合理、功能齊全、結構緊湊、性能良好,有獨創性,該系統設備投入使用后,可取代舊式“鋼絲繩門插式”閉鎖裝置,解決了舊式閉鎖一旦鋼絲繩松動或一側風門關閉不嚴時,另一側風門被完全鎖死的致命弊端,實現了通知礦井得到廣泛的推廣與應用,此系統在提高礦井安全技術裝備和標準化上具有廣泛推廣意義。
工作面設備拆除施工組織設計及安全技…
恒寶源綜采工作面回撤拆除安全技術措施
水文技術員員崗位風險告知卡
保管員崗位風險告知卡
跟車工司機崗位風險告知卡
通風設施工崗位風險告知卡
衛生清理工崗位風險告知卡
拉力試驗工崗位風險告知卡
習慣性違章作業產生的原因、危害分析…
露天礦開采工藝
安全風險管控措施
礦井停產檢修安全技術措施
非煤礦山常見事故原因分析及防范措施
煤礦井下運輸安全技術措施
探放水設計及安全技術措施
冬季“三防”安全措施