前言
本標準中一等品是根據國外著名公司規格,并參考國內企業標準而制定,與國內企業標準相比,增加了水分指標,此項指標的測定采用重量法。
本標準由中華人民共和國化學工業部技術監督司提出。
本標準由化學工業部天津化工研究院歸口。
本標準起草單位:化學工業部天津化工研究院、吉化公司試劑廠、天津東方化工廠、化工部黎明化工研究院。
本標準主要起草人:陸思偉、李光明、劉蘭清、龐慧敏、陸乃光。
1 范圍
本標準規定了工業過氧碳酸鈉(又名過碳酸鈉)的要求、采樣、試驗方法以及標志、包裝、運輸、貯存。
本標準適用于化學法生產的過氧碳酸鈉,該產品主要用于洗滌劑的漂白劑、還可用于紡織工業中的整染劑、干燥劑、金屬表面處理劑、食品衛生的消毒劑等。
分子式:2Na2CO3•3H2O2
相對分子質量:314.02(按1991年國際相對原子質量)
2 引用標準
下列標準所包含的條文,通過在本標準中引用而構成為本標準的條文。本標準出版時,所示版本均為有效。所有標準都會被修訂,使用本標準的各方應探討使用下列標準的最新版本的可能性。
GBl91—1990 包裝儲運圖示標志
GB/T 601—1988 化學試劑 滴定分析(容量分析)用標準溶液的制備
GB/T 602—1988 化學試劑 雜質測定用標準溶液的制備(neqISO 6353—1:1982)
GB/T 603—1988 化學試劑 試驗方法中所用制劑及制品的制備(neqISO 6353—1:1982)
GB/T1250—1989 極限數值的表示方法和判定方法
GB/T 3049—1986 化工產品中鐵含量測定的通用方法 鄰菲噦啉分光光度法(neq ISO 6685:1982)
GB/T 6543—1986 瓦楞紙箱
GB/T 6678—1986 化工產品采樣總則
GB/T 6682—1992 分析實驗室用水規格和試驗方法(eqvISO 3696:1987)
GB/T 8946—1988 塑料編織袋
3 要求
3.1 外觀:本品為白色結晶或結晶性粉末。
3.2 工業過氧碳酸鈉應符合表1要求。
表1 要求

4 采樣
4.1 每批產品不超過20t。
4.2 按照GB/T 6678中6.6的規定確定采樣單元數。每一箱或每一塑料編織袋為一包裝單元。采樣時,從每個選取的包裝單元中,取出不少于50g的樣品,將所采的樣品混勻后。按四分法縮分至約1000g,立即裝入兩個清潔干燥帶磨口塞的廣口瓶中,密封。瓶上粘貼標簽,注明生產廠名、產品名稱、等級、批號、采樣日期和采樣者姓名。一瓶作為實驗室樣品,另一瓶保存三個月備查。
4.3 試驗結果如有一項指標不符合本標準要求時,應重新自兩倍量的包裝中采樣核驗,核驗結果即使只有一項指標不符合本標準要求時,整批產品為不合格。
5 試驗方法
5.1 采用GB/T 1250中5.2規定的修約值比較法判定試驗結果是否符合標準。
5.2 本標準所用試劑和水,在沒有注明其他要求時,均指分析純試劑和GB/T 6682中規定的三級水。
試驗中所用標準滴定溶液、雜質標準溶液、制劑及制品在沒有注明其他要求時,均按GB/T 601、GB/T 602、GB/T 603規定制備。
5.3 活性氧含量的測定
5.3.1 方法提要
試樣溶于水后分解碳酸鈉和過氧化氫,用硫酸中和碳酸鈉并使溶液呈酸性,在酸性條件下,過氧化氫與高錳酸鉀發生氧化—還原反應,根據高錳酸鉀標準滴定溶液的消耗量,確定活性氧含量。反應式如下:
2KMnO4+3H2SO4+5H2O2=K2SO4+2MnSO4+5O2↑+8H2O
5.3.2 試劑和材料
5.3.2.1 高錳酸鉀標準滴定溶液:c(1/5KMnO4)約為0.1mol/L;
5.3.2.2 硫酸溶液:1+15。
5.3.3 分析步驟
稱取約0.2g試樣(精確至0.0002g),置于錐形瓶中,用少量水潤濕,加100mL硫酸溶液使試樣全部溶解,搖勻。用高錳酸鉀標準滴定溶液滴定至溶液呈粉紅色,并在30s內不消失即為終點。同時作空白試驗。
5.3.4 分析結果的表述
以質量百分數表示的活性氧(O)含量(X1)按式(1)計算:

式中: C——高錳酸鉀標準滴定溶液實際濃度,mol/L;
V——滴定試液消耗的高錳酸鉀標準滴定溶液體積,mL;
V0——滴定空白消耗的高錳酸鉀標準滴定溶液體積,mL;
m——試料的質量,g;
0.0080——與1.00mL高錳酸鉀標準滴定溶液[c(1/5KMnPO4)=1.000mol/L)相當的以克表示的活性氧[O]的質量。
3.5 允許差
取平行測定結果的算術平均值為測定結果,平行測定結果的絕對差值不大于0.1%。
5.4 鐵含量的測定
5.4.1 分析步驟
5.4.1.1 試驗溶液的制備
稱取約1g試樣(精確至0.01g),置于100mL燒杯中。加入20mL水溶解,加熱使溶液微沸并減少至約10mL,冷卻后用4mL鹽酸溶液(1+1)調整溶液至pH 2~3,滴加高錳酸鉀(0.1mol/L)標準滴定溶液,至溶液呈淺粉色。即為試驗溶液。
5.4.1.2 空白試驗溶液的制備
在制備試驗溶液的同時,除不加試料外,其他操作和加入的試劑量與試驗溶液同時同樣處理。
5.4.2 測定
按GB/T 3049中5.3的規定,選用3cm吸收池及其對應的鐵標準溶液用量,繪制工作曲線,同時對試驗溶液及空白試驗溶液進行測量。
5.4.3 分析結果的表述
以質量百分數表示的鐵(Fe)含量(X2)按式(2)計算:

式中:m1——從工作曲線上查得試驗溶液中鐵的質量,mg;
m0——從工作曲線上查得空白試驗溶液中鐵的質量,mg;
m——試料的質量,g。
5.4.4 允許差
取平行測定結果的算術平均值為測定結果,平行測定結果的絕對差值不大于0.0005%。
5.5 水分的測定
5.5.1 方法提要
根據試樣在一定溫度下干燥失重并減去活性氧含量,通過計算確定其含量。
5.5.2 分析步驟
稱取約3g試樣(精確至0.01g),置于已恒重的稱量瓶中,于140℃在烘箱中干燥至恒重。
5.5.3 分析結果的表述
以質量百分數表示的水分(X3)按式(3)計算:

式中:m1——干燥至恒重的試樣質量,g;
X1——試樣中活性氧含量,%;
m——試料的質量,g;
2.126——將活性氧換算為水分的系數。
5.5.4 允許差
取平行測定結果的算術平均值為測定結果,平行測定結果的絕對差值不大于0.2%。
5.6 堆積密度的測定
5.6.1 方法提要
試樣經漏斗自由下落于已知重量和容積的量筒中,經稱量、計算,確定試樣的堆積密度。
5.6.2 儀器、設備
5.6.2.1 堆積密度測定儀
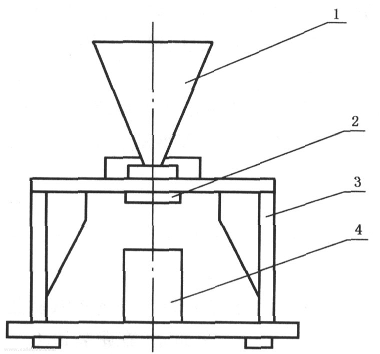
如圖1所示,漏斗固定在支架上,量筒位于漏斗中心線下方,其間距為30mm。材質為有機玻璃或其他材質。

式中:m1——試樣和量筒的質量,g;
m2——量筒的質量,s;
V——量筒的容積,mL。
5.6.5 允許差
取平行測定結果的算術平均值為測定結果,平行測定結果的絕對差值不大于0.02g/mL。
5.7 pH值的測定
5.7.1 方法提要
將指示電極和參比電極浸入試驗溶液中,構成一原電池,其電位與溶液的pH值有關,通過測量原電池的電位即可得出溶液的pH值。
5.7.2 儀器、設備
5.7.2.1 酸度計:分度值為0.1pH單位;
5.7.2.2 玻璃電極:使用前須在水中浸泡24h以上,并浸于水中保存;
5.7.2.3 飽和甘汞電極。
5.7.3 分析步驟
稱取約3g試樣(精確至0.1g),加水至100mL溶解,用已校正過的酸度計測定溶液的pH值。
為確保測得結果準確,可重復校正酸度計及測定試驗溶液,直到pH讀數至少穩定1min為止。
6 標志、包裝、運輸、貯存
6.1 工業過氧碳酸鈉包裝袋及箱上應有牢固清晰的標志,內容包括生產廠名、廠址、產品名稱、商標、等級、凈重、批號或生產日期和本標準編號,以及GBl91中“怕濕”標志和“堆碼層數極限”標志。
6.2 每批出廠的工業過氧碳酸鈉都應附有質量證明書。內容包括生產廠名、廠址、產品名稱、商標、等級、凈重、批號或生產日期、產品質量符合本標準的證明和本標準編號。
6.3 工業過氧碳酸鈉包裝方式
6.3.1 雙瓦楞紙箱與塑料袋包裝。內包裝采用聚乙烯塑料薄膜袋,厚度不小于0.05mm,每袋凈重500g。外包裝采用雙瓦楞紙箱,其性能和試驗方法應符合GB/T 6543中2類產品的規定。該產品每箱凈重20kg或根據用戶要求確定包裝的規格。
6.3.2 塑料編織袋與塑料袋包裝。內包裝采用聚乙烯塑料薄膜袋,厚度不小于0.08mm,外包裝采用塑料編織袋,其性能和試驗方法應符合GB/T 8946A型的規定。該產品每袋凈重20kg或根據用戶要求確定包裝的規格。
6.4 工業過氧碳酸鈉包裝程序
6.4.1 雙瓦楞紙箱與塑料袋包裝。內包裝塑料袋使用熱合封口機嚴密封口,外包裝箱用牛皮紙或膠帶紙封口,寬度為80mm~90 mm,長度須超過紙箱兩端并下垂50mm~60mm。
6.4.2 塑料編織袋與塑料袋包裝。內包裝塑料袋用維尼龍繩或其質量相當的繩人工扎口,或用與其相當的其他方式封口;外袋在距袋邊不小于30mm處折邊,在距袋邊不小于15 mm處用維尼龍線或其他質量相當的線縫口。針距7mm~12mm,縫線整齊,針距均勻。無漏縫和跳線現象。
6.5 工業過氧碳酸鈉在運輸過程中應有遮蓋物,防止日曬、雨淋、受潮,不得與酸類物質混運。
6.6 工業過氧碳酸鈉應貯存在陰涼、干燥通風處,防止雨淋、受潮。防止日曬,受熱。不得與酸類物質混貯。貯存堆碼層數極限高度不應高于10袋。
6.7 在符合本標準包裝、運輸、貯存的條件下,該產品從出廠之日起3個月內,活性氧含量損失不應大于0.5%。
牙膏中4-氨甲基環己甲酸(凝血酸)的…
塑料保鮮盒
牙膏中甲醛含量的測定 高效液相色譜法
眼部護膚化妝品中禁用水溶性著色劑酸…
滌綸牽伸絲
莎稗磷乳油有效成分含量的測定方法 …
禾草敵乳油有效成分含量的測定方法 …
生橡膠 丙烯腈-丁二烯橡膠(NBR)中…
常用化學危險品貯存通則【作廢】
工業管道的基本識別色、識別符號和安…
氣瓶顏色標志【作廢】
危險化學品從業單位安全標準化通用規范
常用危險化學品的分類及標志【作廢】
紡織工業企業安全管理規范
化工企業安全衛生設計規定【作廢】
危險化學品貯存通則