1 主題內容與適用范圍
本標準規定了工業用氧的技術要求、檢驗方法、檢驗規則、包裝、標志、運輸及安全要求。
本標準適用于深冷法空氣分離制取的氣態和液態氧,主要用于氣體火焰加工和其他工業目的。
分子式:O
2 相對分子質量:31.999(按1991年國際相對原子質量)
2 引用標準
GB190 危險貨物包裝標志
GB5099 鋼質無縫氣瓶
GB5832.2 氣體中微量水分的測定 露點法
GB7144 氣瓶顏色標記
GB8979 純氮
GB11640 鋁合金無縫氣瓶
GB14194 永久氣體氣瓶充裝規定
ZBJ76003 固定式真空粉末超熱低溫液體貯槽
ZBJ76022 粉末普通絕熱貯槽
3 技術要求
工業用氧的質量應符合表1的要求
表1

注:液態氧不規定水含量。
4 檢驗方法
4.1 氧含量的測定
4.1.1 方法和原理
用銅氨溶液吸收法進行測定。取一定量樣品氣和吸收液接觸,在吸收瓶中氧經反應后被吸收,根據樣品氣體積的減少測定氧含量。
4.1.2 試劑和材料
4.1.2.1 氯化銨(GB/T658):分析純;
4.1.2.2 氨水(GB/T631):25%~28%的溶液;
4.1.2.3 蒸餾水;
4.1.2.4 混合液:將600g氯化銨溶解于1000mL蒸餾水中,加入1000mL氨水,混合均勻;
4.1.2.5 真空活塞脂;
4.1.2.6 銅絲圈:用直徑為1mm的二號銅(純銅)(符合GB466《銅分類》或YB145《純銅加工產品化學成分》要求)銅絲,繞于直徑5mm的棒上,取下剪成10mm長的小段。
4.1.3 儀器
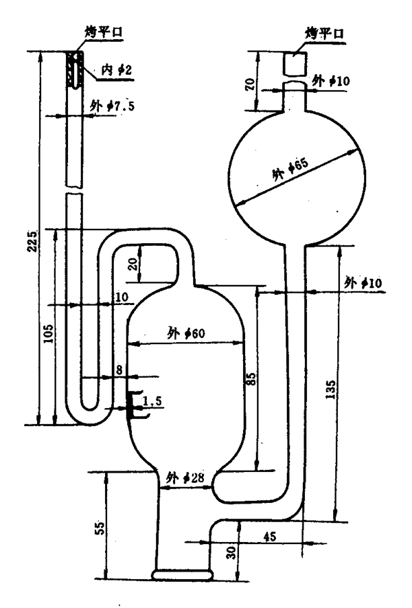
氧氣分析器如圖1所示。加工圖見附錄A(參考件)。

圖1
1—量氣管;2—三通活塞;3—連接管;4—毛細管;5—吸收瓶;6—液封瓶;7—水準瓶
4.1.4 測定步驟
4.1.4.1 準備工作
4.1.4.1.1 用銅絲圈裝滿吸收瓶。用小橡皮管把分析器的各部件連接起來,三通活塞涂擦少量真空活塞脂。
4.1.4.1.2 往水準瓶子里注入混合液,轉動三通活塞,使量氣管與吸收瓶相通,用水準瓶的升降使量氣管、毛細管、吸收瓶及所有管道充滿混合液,共需混合液約550mL。
4.1.4.1.3 調節液封瓶中的液面至適當位置。關閉活塞,放低水準瓶,若量氣管里液位不降低說明儀器不漏氣。
4.1.4.2 測定
4.1.4.2.1 轉動三通活塞,使量氣管與大氣相通,用水準瓶調節液面至活塞支管最高點,關閉三通活塞。
4.1.4.2.2 通過連有橡皮管的減壓閥從氣瓶內取樣,先用較大氣流吹除閥門及管道0.5min,再調至分析所需流量吹洗1min。
4.1.4.2.3 將連在減壓閥上的橡皮管連接于三通活塞支管上,迅速打開三通活塞使樣品氣進入量氣管,當稍微超過100mL時,壓緊連接水準瓶與量氣管的橡皮管,迅速拆除取樣用橡皮管。升高水準瓶使其液面略高于量氣管中液面,微松橡皮管,使量氣管中之液面至零點刻度時再壓緊。
4.1.4.2.4 轉動三通活塞,使量氣管與吸收瓶相通,慢慢舉起水準瓶,使氣樣全部進入吸收瓶,關閉三通活塞。
4.1.4.2.5 小心而充分地振蕩儀器。經3min后,打開三通活塞,將氣體緩慢返回量氣管,當吸收液剛進入量氣管時,關閉活塞舉起水準瓶,使其中的液面與量氣管液面對齊,這時量氣管里液面相應的刻度,即為試樣中氧氣的含量(體積分數),10
-2(V/V)。
4.1.4.2.6 使量氣管中未被吸收的氣體再次進入吸收瓶重新吸收,直到相臨兩次分析結果之差不超過0.05%時,本次分析結束。
注:①必須經常注意加滿銅絲圈,使氣體充分與銅絲接觸。
②吸收液在吸收數拾個樣品后失效,于初發黃時更換,更換時要留舊溶液五分之一左右。
4.1.5 結果處理
同一樣品兩次平行測定結果之差不應超過0.05%,其算術平均值作為分析結果。此法是仲裁方法。
4.2 水分的測定
4.2.1 露點法
按GB5932.2中規定進行測定。
4.2.2 倒置法
充滿氧氣的氧瓶中冷凝水用倒置法測。將冷至室溫的氧氣瓶垂直倒立10min后,微開瓶閥,讓水流入清潔干燥的容器內,當氧氣噴出時立刻關閉瓶閥,流出的水用量筒計量。合格品每瓶中含水量不得超過100mL,一等品應無游離水。
5 檢驗規則
5.1 工業用氧應由生產廠的質量監督檢驗部門進行檢驗。生產廠應保證所出廠的工業用氧符合本標準要求。
5.2 瓶裝工業用氧應成批驗收并按表2規定的瓶數隨機抽樣檢驗。當檢驗結果有一瓶不符合本標準要求時,應重新加倍抽樣檢驗,若仍有一瓶不符合本標準要求時,則該批產品為不合格品。
表2

5.3 管道輸送的工業用氧,在8h內至少采樣檢驗兩次,檢驗結果適用于8h內輸送的任何數量的工業用氧。
5.4 液態工業用氧應從每個貯運容器中采樣進行檢驗。
5.5 用戶有權按照本標準規定檢查驗收。
5.6 當用戶和生產廠對產品質量有異議時,由雙方共同協商或提請仲裁。
6 包裝、標志、貯存及運輸
6.1 工業用氧的包裝、貯存及運輸應符合《壓力容器安全技術監察規程》、《氣瓶安全監察規程》、《危險貨物運輸規則》以及運輸部門的有關規定。
6.2 氣瓶包裝漆色與標志應符合GB190和GB7144的規定。
6.3 除非另有規定,工業用氧的氣瓶充裝壓力在20℃時不得低于15±0.5MPa。
6.4 氣瓶與瓶閥螺紋連接處,氣閥出口及閥桿間隙處不得泄漏,氣瓶出廠應戴瓶帽。
6.5 工業用氧氣瓶及最高允許壓力應符合GB5099、GB11640、GB14194及《氣瓶安全監察規程》的規定。
6.6 測量工業用氧氣瓶的壓力應在確認氣體溫度與環境溫度達平衡時進行。測量用壓力表精度不得低于2.5級。
6.7 返回生產廠的空瓶,瓶內余壓不得低于0.5MPa。沒有余壓以及定期試驗后的氣瓶,在充裝前均應進行相應的處理。
6.8 瓶裝工業用氧氣的體積(V)按(1)式計算:
V=KV
1………………………………(1)
式中:V——瓶內氧氣的體積,m
3;
K——換算為20℃、101.3kPa狀態下氧氣體積的系數,可由附錄B(補充件)計算求得;
V
1——氧氣氣瓶的水容積,L。
6.9 液態工業用氧用液化氣貯罐或貯槽包裝和運輸,應符合ZB J76 003、ZB J76 022及本標準6.1及6.2條的規定。
6.10 液態工業用氧的質量換算為20℃、101.3kPa狀態下氣態氧的體積(V
2)按(2)式計算:
V
2=M/1.331 …………………………(2)
式中:V
2——氧氣的體積,m
3;
M——液態氧的質量,kg;
1.331——氧氣的密度,kg/m
3。
6.11 工業用氧出廠時應附有質量合格證,其內容應包括:
a.產品名稱及質量等級;
b.生產廠名稱;
c.生產日期或批號;
d.包裝容器號碼;
e.氧氣的體積(m
3),壓力(MPa),或質量(kg);
f.本標準的編號。
7 安全要求
7.1 氧氣是無色、無味、無嗅、無毒、不燃的氣體,是強氧化劑,能助燃。其化學性質極活潑,能同許多元素發生化學反應同時放出熱量。氧氣與可燃性氣體按一定比例混合后容易爆炸。油脂與壓縮氧氣接觸,溫度超過燃點時可發生燃燒。
7.2 氧氣在室內聚集,其體積分數超過23×10
-2時,有發生火災的危險。在氧濃度有可能增加的地方,應設有通風裝置,并對氧氣濃度進行監測。
7.3 檢修和工藝處理盛氧容器之前,必須將氧氣進行置換,當氧氣含量(體積分數)降到23%以下,方可開始工作。
7.4 應隨時保持氣瓶內外清潔,不得沾染油脂和其他污物。
7.5 操作者在剛剛離開富氧環境后,不允許立即使用明火或走近火源。
7.6 氣瓶充裝壓力按GB14194執行,充裝時間不得小于45min(40L氣瓶)。
7.7 液態氧的操作者應有足夠的人身保護措施以防凍傷。
7.8 充裝氧氣前應對氣瓶嚴格檢查,充裝氧氣的容器禁止充裝其他氣體。
附 錄 A
氧氣分析器加工圖
(參考件)
A1 量氣管加工圖及其技術條件
A1.1 量氣管加工圖(見圖1)
A1.2 量氣管技術條件
A1.2.1 刻度表如圖示的方向。
A1.2.2 0點、90mL、99mL3標線刻在相應的細管上,如圖所示。
A1.2.3 分度表:0點標線至活塞關閉時為100mL。
A1.2.3.1 0~90mL
每5mL刻短線。
每10mL刻長線,并標字。
A1.2.3.2 90~99mL
每0.1mL刻短線,每0.5mL刻中線。
每1mL刻長線,并標字。
A1.2.3.3 99~100mL
每0.05mL刻短線,每0.1mL刻中線。
每0.5mL刻長字線,并標字。
其中:100 mL無標線及標字。
A1.2.4 容積定量方式:量出式,定量時標準流速為50~60 s。
A1.2.5 容積檢定分段與允許差
A1.2.5.1 檢定分段
0點、90mL、99mL、3點
A1.2.5.2 允許差
99mL為±0.05 mL,90 mL為±0.1 mL,0點為±0.2 mL。
A2 吸收瓶加工圖(見圖A2)

圖A1 量氣管

圖A2 吸收瓶
附 錄 B
換算系數K值的計算
(補充件)
在20℃、101.3kPa狀態下氧氣體積換算系數K按下式計算:

式中:P——氣瓶內氣體壓力,MPa;
t——測量壓力時,氣瓶內氣體溫度,℃;
Z——溫度為t時,氧氣的壓縮系數。
不同溫度和壓力下的換算系數K值列于下表中
換算系數K
附加說明:
本標準由中華人民共和國化學工業部提出,由化學工業部西南化工研究院技術歸口。
本標準由北京普萊克斯實用氣體有限公司、西南化工研究院負責起草。
本標準主要起草人周文慧 載培述。
本標準優等品技術要求等同采用ΓOCTP5583—78《工業用和醫用氣態氧》,檢驗方法等效采用ΓOCTP5583—78《工業用和醫用氣態氧》標準。