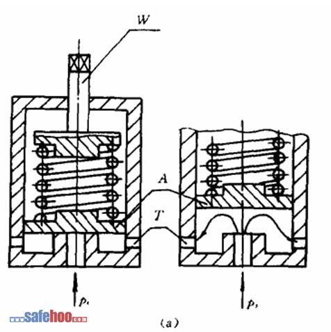
安全閥在系統中起安全保護作用。當系統壓力超過規定值時,安全閥汀開,將系統中的一部分氣體排入大氣,使系統壓力不超過允許值,從而保證系統不因壓力過高而發生事故。安全閥又稱溢流閥。圖示為安全閥的幾種典型結構形式。圖
a為活塞式安全閥,閥芯是一平板。氣源壓力作用在活塞A上,當壓力超過由彈簧力確定的安全值時,活塞A被頂開,一部分壓縮空氣即從閥口排入大氣;當氣源壓力低于安全值時,彈簧驅動活塞下移,關閉閥口。 
圖b和c分別為球閥式和膜片式安全閥,工作原理與活塞式完全相同。這三種安全閥都是彈簧提供控制力,調節彈簧預緊力,即可改變安全值大小,故稱之為直動式安全閥。
圖d為先導式安全閥,以小型直動閥提供控制壓力作用于膜片上,膜片上硬芯就是閥芯,壓在閥座上。當氣源壓力A大于安全壓力時,閥芯開啟,壓縮空氣從左側輸出孔排入大氣。膜片式安全閥和先導式安全閥壓力特性較好、動作靈敏;但最大開啟力比較小,即流量特性較差。實際應用時,應根據實際需要選擇安全閥的類型,并根據最大排氣量選擇其通徑。