2.連續電脈沖點火裝置
連續電脈沖點火裝置是指當技下燃具點火開關時,點火裝置可以連續不斷地放出電脈沖火花。此點火裝置與單脈沖點火裝置相比,其優點是操作方便,點火著火率高,達到100%。
目前用在燃氣用具上的連續電脈沖點火裝置的種類較多,但用于民用燃具上的此類裝置有以干電池作電源的晶體管電子電路點火裝置和以市電作電源的自動點火控制系統。總結這些點火裝置,大致可分為可控硅式(圖3—10—5(a))和電壓開關管式(圖3—10—5(b))兩種形式。它們的工作原理基本相同,唯一不同之處是在放電頻率的控制形式上。
?

圖3—l0—5(a)線路工作原理是:點火開關S閉合,由R1、Vl和T1初級線圈組成的振蕩電路起振,經T1的次級線圈升壓,二極管V2整流后,一路到電容C1儲能,另一路通過R2對C2進行充電。因雙向觸發二極管V3的阻斷特性,當C2兩端的電壓達到V3的開通電壓時,V3導通,C2儲存的能量擊發可控硅導通,C1通過可控硅V4和T2的初級線圈回路放電,在T2的次級線圈中感應出一個高壓脈沖,擊穿兩極間隙產生一個電火花。C2在觸發V4后,因其端電壓低于V3的開通電壓,V3關斷,電路進行第二次充放電過程。改變R2、C2的大小,可以改變高壓放電火花的放電頻率。
圖3—10—5(b)線路工作原理基本上與(a)線路相同,不同是在電火花放電頻率的控制上。本線路利用一只電壓開關管的通斷來控制放電頻率。當C1充電儲能,電壓開關管V3兩端電壓達到其開通電壓時,其立即導通,C1通過V3、T2的初級線圈回路放電,在T2的次級線圈中感應出一個高壓電脈沖。此時,V3兩端電壓降低,即關斷,電路進行第二次充放電過程。此線路的放電頻率基本不可調,放電頻率的快慢完全取決于V3的電壓開關值。
二、自動控制裝置
(一)燃氣壓力控制器
控制燃氣壓力,通常用壓力調節器來實現。對大多數燃氣工業爐窯及燃氣鍋爐來說,為保持爐前壓力穩定,都應安裝壓力調節器。按閥芯的形狀它可分為兩類:
1.單閥型(圖3—10—6) 其工作原理是當燃氣出口壓力超過調定值時,薄膜下部所受壓力增加使閥芯升高,燃氣通路減小,燃氣壓力下降達到額定值。反之,燃氣出口壓力降低,閥芯動作相反。
單閥型壓力調節器具有當用戶不需用燃氣時,能可靠地切斷燃氣的優點。其缺點是出口壓力與前壓及耗氣量有關,即閥座不減載,因此在前壓上升時,背壓反而下降。
2.雙閥型(圖3—10—7) 它的工作原理是:當燃氣出口壓力超過調定值時,薄膜下部所受壓力增加使閥芯升高,燃氣通路減小使出口壓力下降達到調定值。反之,燃氣出口壓力降低,閥芯動作相反。它的優點是閥芯本身具有減載作用,可消除前壓對背壓的影響。其缺點是用戶不用燃氣時,閥孔關閉不嚴密。因此,它多用于不間斷使用燃氣的地方。
?


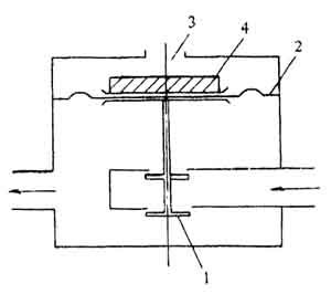
(二) 燃氣流量控制器
在燃氣壓力調節器中薄膜僅一面與燃氣接觸,靠背壓的變化使閥芯位移;而在流量調節器中,則要利用安裝在閥前的節流孔板的前后壓力,使其作用在薄膜的上下兩側,靠流量改變時產生的壓差變化推動閥芯。
燃氣流量調節器的構造示于圖3—10—8。其作用原理如下:當燃氣流量超過調定值時,孔板產生的壓差增大,薄膜上下負荷變化而向下移動,閥口燃氣流通面積減小,從而使燃氣流量恢復至調定值。
(三)燃氣—空氣比例控制器
在鼓風式燃燒器上通常使用的燃氣—空氣混合比例調節裝置如圖3—10—9所示,它為氣動調節裝置。另外,還有電動及液動等調節裝置。
這種調節裝置能保持燃燒器前燃氣和空氣壓力比值一定,從而使燃氣與空氣量按一定比例混合。其工作原理如下:當閥門1關小,空氣量減少,閥l后壓力降低,通過脈沖管8經噴嘴7使薄膜上空間壓力也降低。燃氣調壓器的閥芯上升,燃氣量隨之減少,從而使兩者按調定比例混合。確定氣量比例的平衡壓力是靠節流裝置6來實現的。燃燒器生產率過完全取決于空氣壓力的變化。
?


三、自動控制系統
燃氣工業爐自動控制系統大致由測量顯示儀部分、調節器部分及執行器部分所組成。自動控制的主要內容是爐溫、爐壓及空燃比的控制。
(一)爐內壓力控制系統
為了保持爐膛內微正壓,控制爐底正壓為10Pa,國外已普遍采用爐壓自動控制,目前國內也有一些大中型燃氣工業爐采用。其工作原理是通過微壓變送器和壓力調節器,經電動執行器控制煙道煙閘,調節排煙量。
圖3—10—10所示為加熱爐爐壓控制系統。用壓力變送器測量出來的爐膛壓力信號,輸送到調節器里,利用輸入信號與設定值的偏差值,去調節煙道閘板,控制爐膛壓力為恒定值。
?

調節器多數采用比例積分微分(PID)動作。在煙道閘板的驅動上,一般多使用油壓執行機構或者氣動執行機構。
(二)空燃比控制系統
不管流量值如何,通常為保持空燃比一定,就要對燃氣流量與燃燒需要的空氣流量進行控制。在圖3—10—11上,用燃氣流量乘上空燃比Fr,作為空氣流量調節器的設定值,即按照La=FrLg或La/Lg=Fr進行空燃比的控制。式中Lg為燃氣流量。La為燃燒用空氣流量;Fr空燃比。通常Fr的值用比例設定器設定,這時空氣流量要略高于理論空氣流量。另外,還可以與煙氣中O2分析器相配合,根據實際燃燒的結果進行自動設定。
圖3—10—12所示是用爐內溫度調節器進行串級設定時的并聯設定式空燃比控制系統圖。當負荷變動時,燃氣流量與空氣流量同時進行增減,因此空燃比隨時都能保持一定。
模板施工安全和防火措施
LNG氣站法蘭和閥門泄漏的常見原因及…
火災爆炸事故的防范
設施與物資防火措施
粉塵涉爆企業典型問題隱患圖鑒
電動自行車鋰離子電池回收利用體系建…
2024年消防月活動方案
粉塵爆炸安全提示
物質的火災危險性分類
簡述手提式滅火器的使用方法
初起火災的撲救方法與原則
滅火器使用方法及注意事項
火災的種類及滅火方法
信息機房的防火設計要求
動火作業安全防火基本要求
倉庫的主要防火要求