摘要 基于風險的檢測(risk-based inspection, RBI)是基于風險管理思想的設備管理新技術。在20世紀90年代,API就制定了關于RBI的推薦性標準AP1580,該技術目前在世界上已經得到了廣泛的應用。本文闡述了RBI技術中風險分析的基本思想,著重介紹了RBI危險辨識、RBI風險評估和RBI風險排序等主要過程。
關鍵詞 基于風險檢測 風險評估 失效概率 失效后果 設備失效機理
(1)引言
20世紀90年代初,美國石油協會(API)開始在石化設備開展基于風險的檢驗(risk-based inspection, RBI),并提出了RBI技術的規范即API1580。在英國、法國和德國等國家,也制定和發展了適合本國國情的RBI技術。在亞洲,韓國和日本也采用了與其相同的一些措施。目前,RBI技術在世界上已經得到了廣泛的應用。
RBI在國內作為一個新生事物,已經受到了石油化行業的高度重視。目前,RBI技術在世界上已經得到了廣泛的應用。
RBI在國內作為一個新生事物,已經受到了石油石化行業高度重視。目前,我國很多企業和科研院所都在為企業實施RBI進行寶貴的探索。結合對RBI的工作情況,下面談一下對RBI中風險評估方法的一些認識。
RBI技術以風險為基礎,RBI技術通過RBI評價實現它對風險的管理。風險是事件發生的概率和與事件相關聯的后果的結合:風險=概率×后果。RBI風險評估分為定性、半定量和定量3種方法,這3種方法在AP1580里面有詳細的介紹。企業進行RBI風險評估的形式取決于環境、分析要求等因素。便是對于所有的RBI風險評估方法必須包括的要素為:①RBI危險辨識;②RBI失效概率的評估;③RBI失效后果評佑;④RBI風險計算;⑤RBI風險排序;⑥風險的再評估。
(2)RBI危險辨識
在RBI分析中,傳統風險分析的一些階段被做了不同的處理。例如,危險識別是傳統風險分析中的一個關鍵步驟,而RBI是將風險分析和機械完整性這兩上原理組合的一種混合方法,其著重于由設備內流體、溫度、壓力和設備材質等相互作用形成的設備退化機理的歸類和劃分。該過程包括設備物流的識別和物流系統化的劃分。
工廠中相同的工藝過程流體往往具有大致相同的流體組成。在RBI分析把組分相同的流體定義為一個物流。在物流的劃分過程中起主導作用的流體的化學組分。當管道中流體的化學組成發生變化時,就要定義一個新的流來對其進行描述。物流的劃分是RBI分析的基礎。通過物流的劃分就把設備或管道根據其內部流動的流體進行了一個“粗略”的歸類。
系統化是進行整個RBI分析的基礎。RBI分析就是建立在系統化的基礎上的。系統化的過程就是對前面物流進一步細化的過程。系統工程物流的一部分,具有大約相同壓力和溫度的流可以劃為一個系統。在一個物流中,流體的操作壓力或溫度可能是發生變化的,這可能導致相同的物流產生不同的失效機理或失效速率,這就有必要引進系統的概念。例如經過換熱器的一個物流,在經過換熱器前后溫度發生了變化,從而可能導致流體對管道腐蝕速率或腐蝕機理的改變,所以就需要把換熱器的這個物流劃分為兩個系統。
在該過程中,利用傳統風險評估中的危險辨識方法對分析也是非常有幫助的。這些方法有:①危險與可操作性分析;②失效模式與影響分析;③檢查表;④故障樹分析。
(3)RBI失效概率的評估
在進行設備失效概率評估之前,首先要進行設備失效機理的識別。設備失效機理的識別,是根據設備物流和系統的相關信息并結合設備的材質等來確定設備的失效機理。RBI考慮的設備失 效機理有內部腐蝕、外部腐蝕、焊縫腐蝕、鋟蝕、蠕變、內部應力腐蝕開裂、外部應力腐蝕開裂、脆化、疲勞、濕H2S開裂等,這些失效機理基本上包含了石化設備的所有失效類型。設備失效機理分析重點在研究那些設備易感的全部退化機理,集中在那些容易發生各種退化機理的設備上。
RBI失效概率的評估主要是根據設備失效機理(設備內的流體介質、設備的材質和工藝參數等因素)來評估設備的失效概率。在失效概率的評估過程中,很重要的一點就是根據設備目前的失效機理來計算未來的設備失效速率。失效概率的評估分為定性、半定量和定量3種方法。
1 定性方法
設備失效概率的定性評估就是通過使用“非常不可能”、“不可能”、“可能”、“經常發生”、和“頻繁發生”或者使用“高”、“中”、“低”等術語來表示設備失效的概率。在評估之前,必須對這些術語進行明確的描述。通常這些失效等級都有一個最大的失效概率值來區分這些失效概率間的區別。
2 半定量方法
設備失效概率的半定量評估是根據設備的材質、設備內的介質、操作運行的工藝參數和工廠相關的一些技術數據,使用一些失效計算模型來計算設備的失效概率情況,進而判斷失效概率等級。對于每一種失效機理,RBI中都有相應的計算模型。根據設備的每一種失效模型并結合設備操作情況、日常維護情況來進行設備失效概率的評估。下面舉一個金屬減薄的例子:
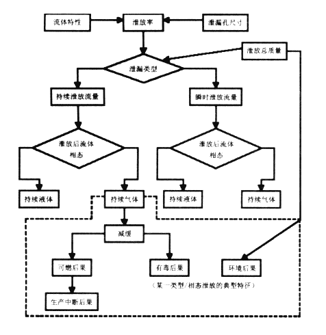
在RBI模型中減薄的機理有:鹽酸腐蝕、高溫硫化物/環烷酸腐蝕、高溫H2S/H2腐蝕、硫酸腐蝕、氫氟酸腐蝕、酸水腐蝕、胺腐蝕和高溫氧化等機理,計算過程如圖1。
圖1 金屬減薄的計算過程

3 定量方法
目前,世界上有很多關于設備的失效速率和事件失效原因的統計數據庫。當缺少其他一些信息的時候,這些數據庫的統計數據就可能用來預測設備失效的概率。定量的評估就是根據這些基礎的失效數據庫中的失效概率,然后加上適當的因子進行合適的修正來預測設備的失效概率。AP1581就是使用這種評估方法進行的評估。修正因子是對具體設備的一個修正,取決于具體設備的管理、運行狀態和周圍的環境。
(4)RBI失效后果評估
RBI后果評估要考慮生產、安全和環境3個方面,采用了對生產的損失、經濟損失、人員傷害和環境破壞等原則來計算設備的失效后果。
1 定性后果分析
定性方法包括確定單元、系統或設備失效帶來的后果嚴重程度。定性失效后果可以對每一個單元、系統、設備組或單個設備零件單獨進行估算。
對定性方法,后果等級可以分類為“非常高”、“高”、“中”、“低”和“非常低”5個等級或者使用“高”、“中”、“低”3個等級。對于每一種后果等級在進行評估之前都應該進行詳細的定義。例如,設備失效以后對工廠生產的后果影響(見圖2):
圖2 失效后果評估的生產影響
等級高:失效會引起工廠停工。
等級中:失效會造成操作問題或產量的損失。
等級低:有可備用的生產設備;失效對工廠生產沒有影響應或影響很小。
2 定量后果分析
定量方法包括使用模型描述失效事件對人員、財產、生產運行和環境的影響。定量失效模型中通常含有一個或多個標準的失效模式和結果。對于泄漏后的后果取決于泄漏流體的性質和泄漏的能量。圖3為RBI失效后果的定量評估過程:
圖3 RBI失效后果的定量評估過程
對于這些泄漏后果的計算可以使用一些專門的軟件包進行詳細的計算,如SAFETI軟件包、NEPTUNE軟件和SHELL GLOBLE SOLUTIONS軟件等。
(5)RBI風險計算
設備失效概率和失效后果的評估之后,就可以計算出設備的風險等級。設備的風險等級反映了設備失效概率和失效后果兩方面的內容。是對設備失效一個全面的表征,通過風險評估,可以對工廠設備按風險等級的高低進行排序。
RBI風險計算是結合設備失效概率評估和失效后果評估兩個方面。評估過程中要對設備每一種失效模式的概率和后果都要進行考慮。如要風險以定性的風險矩陣表示,則可以使用的矩陣有5×5矩陣或3×3矩陣。

圖4 RBI評估的5×5風險矩陣
圖4是5×5矩陣,安將失效概率的失效后果都分為5個級,而對于設備最終的風險則分為“非常高”、“高”、“中”、“低”4個等級。這種5×5矩陣基本上采用了傳統風險評估中所使用的矩陣形式。
目前,在RBI分析的生產實際中,很多采用了3×3矩陣。這種矩陣在分析過程中簡單、易行。
圖5 RBI評估的3×3矩陣
圖5是3×3矩陣,安將失效概率和失效后果都分為“高”、“中”、“低”3個等級,但它將設備的風險分為5個等級。在設備的風險分類上較5×5矩陣更加細化。同時它根據風險等級制定不同的檢測計劃時也更加具有針對性,對同樣風險根據它們失效的概率和失效后果的不同制不定期不同的檢測計劃。例如對同樣是風險等級2的設備,有的設備可能是失效概率為“高”而失效后果為“中”,而有的設備可能是失效概率為“中”和失效后果為“高”,雖然這兩種設備的風險等級都為2,但是制定的檢測計劃是不同的。
(6)RBI風險排序
通過實施RBI,對工廠的全部設備進行風險排序,區分那些不需要檢測或風險降低措施的裝備,使檢測和管理行為可以更加有效,更加集中。即按照風險排序的結果只對工廠中10%——20%的設備進行檢測,從而達到消除工廠內80%——90%風險的目的。
在風險排序過程中,最重要的一個問題就是識別出設備失效概率和失效后果對設備風險的影響程度。通過風險評估給出了每一項設備的失效概率和失效后果,RBI根據設備可能發現的失效模式制定檢驗任務,對具體失效模式的有效檢驗主要體現在檢驗方法的選擇上,只有有效檢驗才能真正起到管理風險的目的。高失效后果的項目應當受到全面更有效的檢測,RBI根據設備的失效后果同時結合考慮設備的夫效概率確定了檢測的內容。
通過RBI風險排序可能將檢測資源更合理地應用于高風險設備,促進非介入式檢測技術的應用,減少不必要的停車,從面為工廠長周期運行打下良好的基礎。
(7)RBI風險的再評估
RBI 風險評估是一個動態的過程(見圖6)。RBI評價是基于當時的數據和認識,隨著時間的推移,不可避免會有變化,所以需要更新評價的結果,對變化過程有效的加以管理。
RBI再評價需要考慮退化機理的變化、檢測活動的影響、工藝和設備改變、評價前提的變化、風險減緩策略的影響等。實施RBI再評價的時間可以在發生重大變化之后;如果沒有重大變化,規定時間之后也要進行再評價;實施風險減緩策略后和維護轉變之前和之后都應實施RBI再評價。
圖6 RBI 風險評估的動態過程
(8)小結
1) RBI風險分析就是對設備運用風險評估的原理,考慮設備發生失效概率和失效后果大小,最后根據風險值的排序,確定相應的檢測措施。
2) RBI風險評估是一個非常靈活的過程,企業可以根據自己工廠的情況選擇不同的RBI風險評估方法。
3) RBI評估是基于風險管理的體制的體系進行的風險評估,企業實施RBI必須要以一種系統化、體系化的思想來進行。
安全評價檢測檢驗機構監管工作二十條
《涉路施工安全評價技術規范》解讀
某熱電廠安全評價
危化品建設項目安全驗收評價
陸上石油天然氣站場安全風險分級評估…
陸上石油天然氣井場安全風險分級評估…
安全管理體系評價辦法
環保管理體系評價辦法
風險評價的方法
危險源分類
安全生產風險評價報告
最小割集與最小徑集在事故樹分析中的…
危險源的分類
幾種常見的安全評價方法
安全風險評價方法對照表
安全評價機構資質說明